
產品簡介
參考單價230-500元,上海自動化儀表三廠WRN-420/430固定法蘭熱電偶可以直接測量各種工業生產過程中從0℃~800℃范圍內的液體、氣體、蒸汽及固體表面的溫度,并把溫度信號轉換成熱電動勢信號,通過二次儀表轉換成被測介質的溫度。在實際應用中熱電偶有多種結構方式,但工作原理都是一樣的,因其結構簡單、制造方便、測溫范圍廣、精度高、慣性小和輸出信號便于遠傳等優點,所以在工業生產過程中得到極為廣泛的運用。
產品技術參數
◆測量范圍:0-800℃
◆分度號:K分度
◆精度等級:I級( ±1.5℃或±0.004|t|) II級( ±2.5℃或±0.0075|t|)
◆熱電偶類別:鎳硅-鎳硅
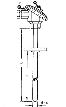
◆接線盒類型:WRN-420為防濺式接線盒 WRN-430為防水式接線盒
◆安裝方式:固定法蘭式
◆保護管直徑:16mm
◆保護管材質:不銹鋼304、321、316等
◆保護管插深:l=75-2000mm
◆熱響應時間:T0.5<80S(在溫度出現階躍變化時,熱電偶的輸出變化至相當于該變化的50%所需要的時間,用T0.5表示)
◆熱電偶公稱壓力:2.5MPa(一般是指在保護管所能承受的靜態外壓而不破裂)
◆熱電偶標稱流速:0米/秒
◆熱電偶絕緣電阻:常溫絕緣電阻的試驗電壓為直流500V±50V,大氣條件為溫度15~35℃,相對濕度45%,大氣壓力86~106kPa,它的常溫絕緣值應≥100MΩ。
◆執行標準:JB/T9238-1999
產品工作原理
當有兩種不同的導體,其兩端相互焊接時,兩結點處的溫度不同,一端溫度為測量端或工作端,另一端溫度為自由端或冷端,當兩端溫度存在溫差時,就會在回路時產生熱電流,配上顯示儀表,儀表上就能顯示出熱電偶所產生的熱電動勢的對應溫度值。熱電偶的熱電動勢將隨著測量端或工作端的溫度升高而增長,熱電偶的熱電動勢的大小只和導體材質及兩端溫差有關,和導體的長度、直徑無關。
產品使用選型

型號舉例:
WRN-430表示K分度固定法蘭帶防水式接線盒,保護管直徑16mm的裝配式熱電偶,可為雙支。
WRE-430表示E分度固定法蘭帶防水式接線盒,保護管直徑16mm的裝配式熱電偶,可為雙支。
WRN-420表示K分度固定法蘭帶防濺式接線盒,保護管直徑16mm的裝配式熱電偶,可為雙支。
WRE-420表示E分度固定法蘭帶防濺式接線盒,保護管直徑16mm的裝配式熱電偶,可為雙支。
產品安裝圖片
◆WRN-420固定法蘭熱電偶
防濺式接線盒 L=l+150mm
固定法蘭外徑95mm中心距65mm或根據需要

◆WRN-430固定法蘭熱電偶
防水式接線盒 L=l+150mm
固定法蘭外徑95mm中心距65mm或根據需要



客服1