13501686122

運用簡介 上海自動化儀表三廠生產的WRR-430防水式雙鉑銠熱電偶可以直接測量各種工業生產過程中從0℃~1800℃范圍內的液體、氣體、蒸汽及固體表面的···

我廠電站測溫專用熱電偶被機械工業部定為我國30萬和60萬等機組專用測溫儀表,從產品的結構和使用環境可分為五種類型,以下是五種類型的產品型號和圖片尺寸: ···

溫度計擴大管 溫度計擴大管是為了增加溫度儀表測量元件的插入深度,保證溫度儀表的正常使用,在直徑80mm以下的管道上安裝溫度儀表時,建議采用裝擴大管···

(上海儀表三廠 儀表技術)數字化工業是未來工業的核心價值,而工業互聯網則是數字化轉型的實現形式和必經之路。但這幾年的實踐中,工業互聯網的落地卻出現了各···

上海自動化儀表三廠裝配式熱電偶耐磨耐溫合金保護套管的分類如下: 1、碳化硅(SIC):金屬陶瓷耐磨、耐高溫、耐腐蝕保護套管,···

上海自動化儀表三廠對熱電偶熱電阻的安裝,應注意有利于測溫準確,安全可考及維修方便,而且不影響設備運行和生產操作.要滿足以上要求,在選擇對熱電偶熱電阻的安裝···

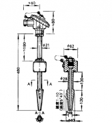
雙金屬溫度計的正常使用與維修應注意以下幾點: 1.為保證雙金屬溫度計的準確性,尾管浸入被測介質的深度應在75mm或以上。 2.讀書時視線應與標度盤垂···

WZP2-280小接線盒雙支熱電阻簡介 上海自動化儀表三廠生產的WZP2-280小接線盒雙支熱電阻是中低溫區最常用的一種溫度檢測儀表。熱電阻···

WRN2-631固定螺紋錐形保護管熱電偶簡介 上海自動化儀表三廠WRN系列熱電偶是溫度測量儀表中常用的測溫元件,本廠生產的WRN2-631固···

WRCK2-182無固定雙支鎧裝熱電偶簡介 上海自動化儀表三廠生產的WRK系列鎧裝熱電偶具有能彎曲、耐高壓、熱響應時間快和堅固耐用等許多優點···

WRCK-182無固定鎧裝熱電偶簡介 上海自動化儀表三廠生產的WRK系列鎧裝熱電偶具有能彎曲、耐高壓、熱響應時間快和堅固耐用等許多優點,它和···

WRN-631固定螺紋錐形保護管熱電偶簡介 上海自動化儀表三廠WRN系列熱電偶是溫度測量儀表中常用的測溫元件,本廠生產的WRN-631固定螺···

WZC-269固定螺紋插座式銅熱電阻簡介 上海自動化儀表三廠生產的WZC-269固定螺紋插座式銅熱電阻是中低溫區最常用的一種溫度檢測儀表。熱···

WZPM2-267固定螺紋插座式雙支熱電阻簡介 上海自動化儀表三廠生產的WZPM2-267固定螺紋插座式雙支熱電阻是中低溫區最常用的一種溫度···

WRCK2-181無固定雙支鎧裝熱電偶簡介 上海自動化儀表三廠生產的WRK系列鎧裝熱電偶具有能彎曲、耐高壓、熱響應時間快和堅固耐用等許多優點···

WRCK-181無固定鎧裝熱電偶簡介 上海自動化儀表三廠生產的WRK系列鎧裝熱電偶具有能彎曲、耐高壓、熱響應時間快和堅固耐用等許多優點,它和···